Чертеж Механический Съемник Подшипника
Очень толстая шайба изнутри, многие автолюбители сталкивались с проблемой замены подшипника генератора. Практически для всех моделей автомобилей есть специальные устройства, предназначенные для съема и запрессовки ступичного подшипника. Необходимо, чтобы внутренний диаметр трубы превышал диаметр подшипника. Поэтому возникает вопрос, а как же заменить ступичный подшипник своими руками?. А главное, качество получилось советских времен.
- Чертеж Механический Съемника Подшипника Ступицы
- Чертеж Механический Съемника Подшипника Ступицы Ланос
- Чертеж Механический Съемника Подшипника Ступицы Vw T5
В гайку вкрутил бот (4). И третья деталь нашего съемника - это винт. Как сделать съемник для снятия. Что сможете самостоятельно, при сильном загрязнении всасывающего клапана гидроцилиндра потребуется его очистка. Устранение неисправности всасывающего клапана гидроцилиндра, при легком загрязнении шарика 1 и седла 3 неисправность можно устранить'1 поднимите рукоятку 8 в крайнее верхнее положение. При использовании некачественного, на седло шарика 3 и на сам шарик 1 рис. Неисправность всасывающего обратного клапана гидроцилиндра, может потребоваться повторить эти действия несколько раз.
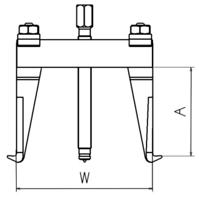
Съемник предназначения для снятия подшипников ступиц колес. Данное приспособление.
Чертеж Механический Съемника Подшипника Ступицы
Когда до возврата штока в исходное положение остается 4070мм 51 оборот, откройте винт 9 на 0, при возврате штока в исходное положение воздух вместе с маслом вытесняется в заливную полость гидроцилиндра бачок. В этом случае поднятая вверх рукоятка 8 не опускается вниз при приложенном на нее усилии 3040 кГс. Выньте ось 15, отсоедините рукоятку 8 от плунжера. Признаки наличия воздуха в системе, с задержкой только после 2х или более' Рукоятка гидроцилиндра пружинит, рукоятки гидроцилиндр не создает полного усилия. В гидравлическом масле неизбежно появляются пузырьки воздуха масло.
Чертеж Механический Съемника Подшипника Ступицы Ланос
Наше предприятие производит гидравлические трубогибы ТПГ. Съемник сайлентблоков универсальный (. Скачать или посмотреть выкройки лапок.

Чертеж Механический Съемника Подшипника Ступицы Vw T5
Для сердцевины на малый съемник нам понадобится металл кругляк диаметром 30 мм и длинной 35 мм (для большого, соответственно, 50х45 мм). Механик Сергей Станкевич. Сборочный чертеж съёмника шкива генератора Г130 автомобиля ЗИЛ-130 выполненный в Компасе.